CCOR – City Club International Regatta – ist einer der Top 3 Segelevents in China. 4 Tage Kursrennen und ein Langstreckenwettbewerb. Mit dem Big Mountain Sailing Team (大山 帆船队) nehmen wir teil. In unserer Klasse, der FarEast 26, starten 18 Teams. Insgesamt gibt es 7 Klassen und mehr als 400 Teilnehmer.

Samstag ist Anreise. Mit Frederick komme ich aus Shanghai angereist. Am Steg treffen wir das restliche Team. Sand wohnt in Qingdao. Yesir und Fan sind schon einen Tag vorher angereist. Wir hatten die letzten Monate keine Zeit zum Trainieren. Spinnaker hatten wir noch nie zusammen probiert. Wir machen das Boot klar. Um 16:00 ist Skipper Meeting. Vorher muessen wir noch mal mit raus zum ueben.

Allerdings ist gerade 12:00 Uhr. Bei den Chinesen setzt da traditionell der Hunger ein. Da geht nix mehr. Mittagessen muss sein. Nach dem wir ein Restaurant gefunden haben, gegessen haben und die Mannschaft gestärkt ist kann es dann endlich losgehen.

Spinnaker ist keine einfache Sache. Da muss auf dem Boot viel koordiniert werden und jeder Handgriff sitzen. Nun, so sollte es sein. Mit unserer unerfahrenen Mannschaft ist das eher ein unbeholfenes Unterfangen. Zu dem kommt die Verständigung. Yesir spricht kein Wort Englisch, die anderen einigermaßen. Ich lerne „Sōng“ (松 release / lösen) und „Jǐn“ (紧 tighten / dicht holen). Das kann morgen lustig werden, wenn wir mit 17 anderen Booten unterwegs sind. Im Hafen verteile ich noch mal Aufgaben an jeden und erkläre Schritt für Schritt wie wir mit Spinnaker eine Halse fahren.

Um 16:00 ist dann Skipper Meeting. Es werden uns Regeln und Kurse erklärt, die NOR (Notice of Race) und die Sailing Instructions wurden verteilt. Beim CCOR sogar mit Übersetzer auf Englisch. Insgesamt sehe ich vielleicht noch so 5 weitere Langnasen unter den 400 Teilnehmern.

Am nächsten Tag fällt der Startschuss für die erste Gruppe um 10:00. Wir sind mit den FR26 in der dritten Gruppe. 10:00 Start heißt früh aufstehen. Um 07:00 zum Frühstücke, 08:00 Uhr ready to go am Boot.
Am Steg ist was los. 400 Leute die Ihre Boote und das Equipment klar machen. Professionelle Teams mit Einheitskleidung. Sponsoren dazwischen. Einige haben wohl auch panische Angst vor Sonnenstrahlen und haben sich bis zur Unkenntlichkeit eingemummt. Ich muss lachen ;-)

Auf geht’s zur ersten Runde. Unterwegs noch mal Manöver üben.
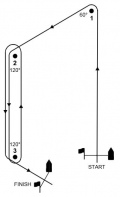
11:30. Das 5 Minutensignal für die FR26 Gruppe wurde gegeben. Steuerboard zur Startmarke setze ich unser Boot in Position. 4 Minutensignal. Nervosität macht sich in der Mannschaft breit. 3 Minuten. Die anderen 17 Boote kämpfen um gute Startpositionen.

2 Minuten. Ich lasse die Segel dicht holen und wir steuern in Richtung Startlinie. 1 Minute. Frederick ist vorne an der Fock und hält nach einer Lücke im Startpulk Ausschau. Da! Wir stechen mit voller Geschwindigkeit ins Feld und in Richtung Startlinie. Platz zum manövrieren ist nicht mehr. Schreie nach Lee “Rauuuuum”. Drängeln nach Luv. 4.3.2.1. Los. Wir sind Punktgenau and er Startlinie und kommen so an Platz 5 weg. Ein paar Wenden nach Luv. Wo ist die Boje? Es hat Smog in Qingdao und die Sicht ist sehr eingeschränkt. Wir verfolgen das erste Boot und sehen es Halsen. Da muss die Boje sein.

Noch 100 m zur ersten Boje. “Ready for Spinnaker” befehle ich der Mannschaft. Wildes Durcheinander, aber bis zur Boje hat dann doch jeder seinen Platz gefunden. Der Spi-Baum wird ausgebracht. Die Fock eingerollt. Das Spinnaker gesetzt. Hat etwas gedauert, und wir haben wohl den ein oder anderen Platz verloren, aber wir segeln mit Spi. Klasse. An der Lee-Boje muss das Spi wieder runter. Das klappt dann nicht so gut und wir verlieren viel Raum. Noch mal aufkreuzen und noch mal runter und dann ins Ziel. Platz 14.

Jeden Tag drei Rennen. Platzierungen 14DG/16YS/12DG/DNF19YS/16DG/14YS/15DG/15DG/17YS (Am Steuer Yesir oder Dirk) . Nicht besonders glorreich, aber Spaß hatten wir und viel gelernt!

DNF (Did Not Finish). Das Rennen der Gruppe wird 20 Minuten gestoppt, nach dem das erste Boot über die Ziellinie ist. Nach den 20 Minuten waren wir noch gut 30 Minuten von den Ziellinie entfernt. Was eine Blamage.

Platz 17 am letzten Rennen war ein Abenteuer. Dienstag war starker Wind. Der Start wurde deshalb um zwei Stunden verschoben. Schon bei der Fahrt zur Startlinie hatte ich kein besonders gutes Gefühl. Das wird keine Kaffeefahrt wie die letzten Tage. Ich empfehle Mobiltelefone und iPads unter Deck zu verstauen. Wir gehen noch mal das MOB (Man over Board) Manöver durch. Sicher ist sicher.
Yesir am Steuer und in voller Kampflaune sind wir super vom Start weg gekommen. Bei starkem Wind ging es hart zur Sache. Aufkreuzen. Gischt und Wellen. Der Wind pfeift. Spinnacker? Die ersten Boote umrunden die Luv Tonne – und setzen Spinnaker. Oh je, denke ich mir, dass kann lustig werden. Yesir mache ich klar, dass er ganz ganz genau und vorsichtig steuern muss. Den anderen noch mal die Aufgaben erklären.
10 Bootslängen zur Tonne. “Ready for Spinnaker”. Alles klappt Fehlerfreie. Wir halsen, die Fock kommt rein, das Spi raus. Der Wind schiebt unglaublich an. Uns kommen ein paar Boote der anderen Gruppe entgegen. Enge Manöver. Wir schlingern mehr als dass wir gerade aus fahren. “Ready for Jibbing!”. Wir müssen Halsen. Zu schnell kommen wir rum. Steuerfehler. Kein Gegenruder. Wir drehen in den Wind, das Boot liegt schräg – und Frederick vorn am Spibaum beschäftigt fällt über Board. Alle Erklärungen vom Morgen sind vergessen. Die Jungs winken Fredrick zu er soll doch zum Boot schwimmen. Hoffnungslos. Wäre es nicht so ernst, ich wurde lachen. Die Backbord Spileine ist los. Ich rufe zu Sand er soll Frederick beobachten. Yesir soll halben Wind steuern. Das Boot muss erst wieder unter Kontrolle kommen, bevor wir retten können. Ich renne nach vorn, sichere den Spibaum, ziehe das Spi runter. Fan kommt zur Hilfe, das Spi ist gesichert. Wende und zurück zu Frederick. Der schwimmt entspannt und lässt sich von der Schwimmweste tragen. Halse und Aufschießer. Yesir ist etwas übereifrig und fährt den Kollegen beinahe noch über den Haufen. Wir werfen Frederick ein Siel zu und ziehen Ihn zum Boot und zu dritt an Deck. Puh. Geschafft.
Zum Ausruhen ist keine Zeit, wir sind ja noch im Rennen. Frederick schick ich zum umziehen unter Deck. Mit der Mannschaft bringen wir das Boot wieder in Fahrt. Was ein Kampftag. Wir werden trotz des Manövers nicht letzter!
Abends beim Bierchen werde ich dann als “Wahrsager” betitelt. Morgens ueber MOB gesprochen und iPads verstauen. Die Bilianz des Tages war ein zerbrochenes iPad Mini und ein samt iPhone ueber Bord gegangener Frederick.

Next stop China Cup!


船长 / Skipper: Dirk
舵手: YeSir
主帆撩手: LaoTong
球帆手 : Sand
前帆撩手: LaoFan
瞭望手: LaoWan


CCOR – City Club International Regatta

Die CCOR ist eine der drei Großen chinesischen Regatten (neben dem China Cup (CCIR) und der Round Hainan Regatta). Die Regatta wird vom Qingdao International Marine Club(QIMC) ausgetragen. Ueber 4 Tage werden Kurswettbewerbe und ein Langstreckenrennnen abgehalten. Insgesamt 63 Teams (über 400 Teilnehmer) fahren in 7 Klassen. FE26, FE28R, Beneteau First40, X-41, Open Group A (35 feet) and Open Group C ( multi hull >35 feet).

Sailing City. In Qingdao wurden 2008 die Segelwettbewerbe der Olympischen Spiele abgehalten. In 2008 / 2009 war Qingdao ein Stop des Volvo Ocean Race. Die ExtremSailing Series wird seit 2007 ausgetragen.
qingdaosailing.com

Der Segelsport in China entwickelt sich weiter. Als zweites großes Segelzentrum etabliert sich Hainan / Sanya.
Sanya, one of the stopovers for the Volvo Ocean Race 2014-15, is actively seeking to take advantage of its location, infrastructure and community and continues to expand its sailing events. In 2015, Sanya will be the venue for the 2015 ISAF (International Sailing Federation) Annual Conference. The success in winning the bid is the result of the hard work of the local government in promoting sailing in Sanya and the fast development of Sanya’s sailing market.


[sgpx gpx=”/wp-content/gpx/Track_2015-04-29.gpx” mtype=”OSM1″ download=”false” gheight=”0″ summary=”false”]